ЕЛЕКТРОКІНЕТИЧНІ ЯВИЩА (грец. elektron — бурштин + kynesis — рух) — група явищ, зумовлених наявністю на межі розділу фаз дисперсних систем (див. Дисперсні системи) подвійного електричного шару (ПЕШ) і здатністю дифузної частини цього шару переміщуватися відносно електростатично й адсорбційно зв’язаної нерухомої його частини. Внаслідок вибіркової адсорбції одного з іонів електроліту, що міститься у дисперсійному середовищі, або за рахунок поверхневої дисоціації функціональних груп (поверхнева іонізація) на поверхні частинок дисперсної фази виникає електричний заряд. Електричні заряди поверхні частинок із протилежно зарядженими іонами (протиіонами) дисперсійного середовища утворюють ПЕШ. Одна частина протиіонів прилягає безпосередньо до зарядженої поверхні, утворюючи адсорбційний (щільний) шар — шар Гельмгольца. Друга частина протиіонів під дією теплового руху поширюється у глибину фази, утворюючи дифузний шар — шар Гуї – Чепмена. Заряд твердої поверхні характеризує величину поверхневого потенціалу φ0, який складається з падіння потенціалу φδ у дифузній частині і різниці потенціалів φ0 — φδ (рис. 1). Причому частина потенціалу φδ дає значення електрокінетичного (дзета) ξ-потенціалу, який відповідає різниці потенціалів між межею ковзання рідини і глибиною розчину. Межа ковзання — це межа між нерухомою, зв’язаною з поверхнею, і рухомою частинами подвійного шару, тобто межа між частинкою, здатною рухатися в електричному полі, й оточуючою рідиною. Величина ξ-потенціалу може служити мірою інтенсивності Е.я. До Е.я. належать електрофорез, електроосмос, потенціали течії і седиментації.

Рис. 1. Схема будови ПЕШ — зміна в ньому потенціалу: δ — товщина шару Гельмгольца; λ — товщина шару Гуї —Чепмена (відстань, на якій потенціал дифузної частини шару φδ зменшується в е разів)
Електрофорез (катофорез) (рос. электричество + грец. рhoresis — несення, перенесення) — явище спрямованого переміщення заряджених мікрочастинок у рідкому (найчастіше водному) середовищі під дією зовнішнього електричного поля. Механізм електрофорезу (рис. 2) полягає в тому, що під дією електричного поля ПЕШ частинок дисперсної фази розривається на межі ковзання, частинка набуває певного заряду і переміщується до протилежно зарядженого електрода, а протиіони дифузного шару рухаються у протилежний бік. Лінійна швидкість переміщення зарядженої частинки (дисперсної фази) u0 визначається за рівнянням Гельмгольца — Смолуховського:
u0 = ε ε0 ζ Ε/η,
де: ε — відносна діелектрична проникність середовища; ε0 — електрична стала 8,854·10–12 Ф/м; Ε — напруженість електричного поля; η — в’язкість середовища.

Рис. 2. Схема руху частинок при електрофорезі
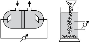
Електроосмос (електроендоосмос) — (рос. электричество + грец. osmos — штовхання, тиск) — явище спрямованого переміщення рідин через тверді капілярно-пористі матеріали і діафрагми під дією зовнішнього електричного поля. Механізм електроосмосу (рис. 3) можна пояснити таким чином.

Рис. 3. Схема руху рідини при електроосмосі
На внутрішній поверхні капілярів діафрагми утворюється ПЕШ унаслідок поверхневої дисоціації функціональних груп, вибіркової адсорбції одного з іонів електроліту, що міститься у розчині, або внаслідок адсорбції на поверхні капіляра іонів Н+ або ОН–, завжди присутніх у воді. При накладенні електричного поля дифузний шар протиіонів по межі ковзання рухається паралельно до нерухомого адсорбційного шару до електрода відповідного знаку, при цьому з ним рухається і певна частина дисперсійного середовища, бо між гідратною оболонкою іона й оточуючою рідиною діють сили внутрішнього тертя і молекулярного зчеплення. До протилежного електрода рухаються ті іони з об’єму рідини, які мають знак, протилежний знаку протиіонів. Об’ємна швидкість течії рідини (v = u0 s) через пористу діафрагму визначається за рівнянням Гельмгольца — Смолуховського:
v = ε ε0 ζ I/κ η,
де I — сила струму; k — питома електрична провідність; s — площа поперечного перерізу капілярів. У наведене рівняння не входять розміри капіляра, що дозволяє виміряти об’ємну швидкість течії рідини не через окремий капіляр, а через систему капілярів, тобто через пористу діафрагму.

Рис. 4. Схема експериментів Квінке з потенціалу течії (а) і Дорна з потенціалу седиментації (б)
Явище, обернене до електроосмосу, є потенціалом течії (рис. 4а). При течії під тиском рідини через пористу діафрагму між протилежними поверхнями діафрагми (на кінцях капілярів) виникає різниця потенціалів, яку називають потенціалом течії. Він зумовлений наявністю ПЕШ на межі поділу фаз. При течії під тиском рідини через пористу діафрагму відбувається деформація ПЕШ, а іони дифузійного шару зміщуються в напрямку потоку рідини. Внаслідок цього руху зарядів уздовж межі виникає поверхневий струм і різниця потенціалів на кінцях капілярів діафрагми; ця різниця потенціалів, у свою чергу, призводить до появи струму провідності у зворотному напрямку. Різниця потенціалів збільшується, доки ці струми не зрівняються. З цього моменту вона набуває сталого значення:
uт= ε ε0 ζ Р/ηκ,
де Р — тиск, який викликає течію рідини.
При осіданні дисперсних частинок під дією сили тяжіння (рис. 4б) ПЕШ, які оточують частинку, деформуються за рахунок тертя об шар рідини. Внаслідок цього дифузні іони відстають від частинок, які рухаються, і по висоті осідання виникає різниця потенціалів, яку називають потенціалом седиментації uс — явище, обернене до електрофорезу. Потенціал седиментації визначають за рівнянням:
uс = ε ε0 ζ φ(ρ-ρ0)g/ηκ,
де ρ і ρ0 — густина дисперсної фази і дисперсійного середовища; g — прискорення сили тяжіння; φ — об’ємна доля дисперсної фази, що для сферичних частинок радіусом r і кількістю n в одиниці об’єму дорівнює
.
Е.я. широко використовують у фармації, біології, медицині. Так, у фармації електрофорез використовують як аналітичний і препаративний метод розділення і виділення різних лікарських речовин і БАР. За ним визначають ступінь чистоти антибіотиків, вітамінів та ін. За його допомогою ЛП вводять в організм людини (див. Електрофорез ліків). Дослідження електрофорезу відкрили можливості для характеристики складних природних білків (їх фракційного складу), характеристики ензимів, вірусів, бактерій, формених елементів крові та ін. Сьогодні електрофорез є одним із основних методів у нейрофізіологічних, нейрофармакологічних та нейрохірургічних дослідженнях. Електроосмос використовують для зневоднення перев’язувального матеріалу та ін.
Воюцкий С.С. Курс коллоидной химии. — М., 1976; Духин С.С. Электропроводность и электрокинетические свойства дисперсных систем. — К., 1975; Парфенов А.П. Электрофорез лекарственных веществ. — Л., 1973; Фізична і колоїдна хімія / В.І. Кабачний, Л.К. Осіпенко, Л.Д. Грицан та ін. — Х., 1999.
