БАГАТОФУНКЦІОНАЛЬНІ АПАРАТИ — технологічні апарати для одержання БАС — основних діючих компонентів ЛП, конструктивні особливості яких дозволяють здійснити послідовність основних та допоміжних хімічних і фізико-хімічних процесів, які є ланцюжком технологічних операцій. Вилучення БАР природного походження і одержання синтетичних БАР відбувається із застосуванням великої кількості розчинників, при цьому утворюються рідкі й газоподібні продукти. Фізико-хімічні властивості речовин, що застосовуються при одержанні БАР і утворюються при здійсненні технологічних процесів, зумовлюють їх негативний вплив на організм працівників і навколишнє середовище. Їх дія посилюється, якщо апаратурно-технологічна схема виробництва передбачає перевантаження реакційної маси з одного апарата до іншого. Наявність перевантажень призводить до кількісних та якісних втрат проміжних та кінцевих продуктів і збільшує тривалість виробничого циклу. Застосування Б.а. дає змогу уникнути цих недоліків, бо сукупність технологічних процесів відбувається в єдиному об’ємі без перевантажень. Ці властивості Б.а. дозволяють використовувати їх при створенні гнучких технологічних схем, основна позитивна якість яких — здатність швидкого переналагодження на випуск нової продукції. Б.а. самодостатні й не потребують застосування додаткового технологічного обладнання. Принцип поєднання технологічних процесів реалізується у Б.а. шляхом створення у робочому об’ємі умов проведення основних процесів хіміко-фармацевтичної технології: розчинення, синтез, випаровування, сушіння, подрібнювання та ін. Залежно від властивостей застосованих у технологіях речовин, умов проведення хімічних перетворень, вимог до якості продуктів застосовують різні конструкції Б.а. Загальним для всіх конструкцій є наявність робочого об’єму з нагрівальною камерою, пристроєм для перемішування, вузлом фільтрації та іншими пристроями для проведення процесів сушіння, подрібнення тощо. На рис. 1 зображено Б.а. типу реактор — фільтр — сушарка з вертикальною компоновкою робочого об’єму. Циліндричний корпус (1) Б.а. цього типу має нагрівальну камеру (2), мішалку якірного типу (3) з ущільнювальною вставкою (4), приймальною ємністю (5), патрубками для підведення та видалення реагентів, нагрівального (охолоджувального) агента (6) та вузла фільтрування (7).

Рис. 1. Б.а. типу реактор — фільтр — сушарка
Корпус апарата встановлено на опорі, яка має поворотний пристрій, що забезпечує поворот корпуса на 360° навколо осі обертання та фіксацію його в робочих положеннях (рис. 2).

Рис. 2. Поворот корпуса на 360°
У положенні (а) Б.а. працює як хімічний реактор (екстрактор) і забезпечує проведення процесів синтезу (екстракції) та перемішування. В положенні (б) Б.а. працює в режимі фільтра, при цьому мішалка застосовується для ущільнювання осаду та запобігання розтріскуванню і грудкуванню. В положенні (в) відбувається сушіння віджатого осаду із застосуванням тепла нагрівальної камери та сушильного агента, що надходить до реакційного об’єму. У цьому положенні мішалка застосовується для оновлення поверхні контакту фаз. Такі конструкції Б.а. мають деякі недоліки, пов’язані з наявністю частин, що обертаються. Цих недоліків позбавлені Б.а., в яких для взаємного переміщення реагуючих продуктів застосовуються НЧ-коливання. Зовнішня енергія низьких коливань рівномірно або за заданим законом розподіляється у поперечному перетині Б.а., належним чином впливаючи на поле швидкостей. Конструктивно Б.а., в яких застосовуються НЧ-коливання, поділяються на три групи: пульсивні, з вібраційною насадкою, з вібраційною робочою камерою. В пульсивних апаратах робоча камера нерухома, рух фаз, що взаємодіють, забезпечується впливом на робоче тіло (газ) пульсаційних імпульсів, які надходять від автономних генераторів коливань-пульсаторів. Апарати з вібраційною камерою характеризуються наявністю у робочому об’ємі перемішувальних пристроїв, які вібрують під впливом імпульсів вібраторів. В апаратах із вібраційною робочою камерою енергія коливань безпосередньо від стінок камери передається на реагуючу масу.
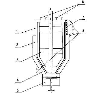
На рис. 3 зображено Б.а. з вібраційною камерою, що складається з робочого об’єму (1) з нагрівальною камерою, фільтрувальною перегородкою (3), технологічними патрубками (2) та вібраційним приводом (4). Робоча камера встановлюється на вібропривід і має можливість повертатися на 180° відносно горизонтальної осі. Вібропривід має частоту, що регулюється, та амплітуду колоподібних коливань, що дискретно змінюється. Вібраційний Б.а. працює таким чином. Коли робочий об’єм знаходиться в положенні фільтрувальною перегородкою вверх, відбуваються всі технологічні процеси, крім фільтрування та промивання. При повертанні робочої камери фільтрувальною перегородкою униз здійснюють фільтрацію.


Рис.3. Б.а. з вібраційною камерою
Чернов А.М., Чистовалов С.М. Основні принципи гнучких хіміко-технологічних систем для здійснення гетерогенних процесів з використанням апаратів вібраційного типу // Вісник фармації. — 1995. — № 3–4; Чистовалов С.М., Чернов А.Н. Пат. РФ № 2042373, МКИ В01Д9/00. Создание вибрационных многофункциональных аппаратов для малотоннажных химико-технологических процессов // Хим. и нефтяное машиностроение. — 1996. — № 3.
